Карта России Карта Петербурга Карта автодорог Беларуси Дороги России Студия ЛУВР Карта Беларуси Карта Волги Комаровка Цены на авто Красотки Долги наши
МИНСК. СТУДИЯ "ЛУВР"
Карта Мира
Страны, столицы
Карта дорог России
Измерение выходной мощности усилителя
Как измерить выходную мощность усилителя низкой частоты

Поиск по сайту
Например: Измерение выходной мощности усилителя
ПУТЕШЕСТВИЯ ПО БЕЛАРУСИ
Belarus Photo
Это страна замков!
Экскурсии по Минску
ФОТОГРАФИИ МИНСКА
Фото. Верстовой столб
Минск 50-х сегодня
Фотографии Минска
ФОТОГРАФИИ МИНСКА
Фото. Верстовой столб
Минский тракторный МТЗ
Минский автобусный МАЗ
Ламповый усилитель для наушников FM-модулятор Лада Гранта Лада Калина Лада Nemiga Карта Японии Belarus-Nemiga Минск Самолет АН-12
На главную
Кто-нибудь перестраивал блок УКВ-1-05С
Про разъем СКАРТ
Выбираем проигрыватель виниловых пластинок
Юморной усилитель
Усилитель на микросхеме К174УН7
Усилитель на микросхеме К174УН14
Ультралинейный усилитель класса А
Усилитель Форманта УМ-0522
1. Вега-МП-122с
2. Вега-МП-122с
3. Вега-МП-122с
4. Вега-МП-122с
5. Вега-МП-122с
6. Вега-МП-122с
7. Вега-МП-122с
Усилитель Маяк-205
Ламповый усилитель для наушников
Телевизор Самсунг
Китайское авто
Еще Китайское авто
Самое безобразное авто
Кто такой "Мул"
Про Тольятти
А где Тольятти
Про Автоваз
Лада Гранта
Сколько стоит Ламповый усилитель для наушников
Лада Калина
ГАЗ «Тигр-2»
Первый российский спорткар
Самое смешное авто
Китайское авто
Китайское авто -2
Что такое Брабус
Город Тольятти
Жигулевские горы
Жигулевская ГЭС
Где находится ГАЗ
Ремонт генератора
Популярные иномарки
ГАЗ - Ермак
Ведь могут же !!!
Немецкий Орёл !!!
Мазовский капотник
Где пройти техосмотр
Двери - гильотина!
Президентский ЗИЛ
90 лет ГОНу
Авто царя Николая 2
Форд-Т Троцкого
Сталинский ЗИС
Гагаринская Чайка
ЗИЛ Брежнева
Охотничий джип
Авто маршала Жукова
Авторынок Малиновка
Авторынок Ждановичи
Время работы рынка
Где находится рынок
Список турфирим Минска
Устройство Болида
Мерседес Штирлица
Мерседес Брежнева
Мерседес Штирлица
Знаменитый ЗИМ
Народный Жук
Как правильно питаится
Бил Гейц от подиума
Мисс Мира
Мисс Беларусь
Кинофестиваль Листопад
Мисс Интерконтиненталь
Художник Малявин
Художник Кустодиев
Популярные экскурсии
Музыкальный театр
Театр "Христофор"
Цирк Шапито
Игорь Растеряев
Список турфирим Минска
Список турфирим Минска
Фотостудия в Минске
Фотостудия в Минске

Туристическая карта Минска
Туристическая карта Минска

Pogoda в Минске
Pogoda в Минске



Каталог TUT.BY
Немига.Инфо. 2003-2024
vic2005@mail.ru
Все права защищены!


Измерение выходной мощности усилителя
Как измерить выходную мощность усилителя низкой частоты. Что такое 5.1

Измерение выходной мощности усилителя. фото.

Измерение выходной мощности усилителя    фото отсюда >>>


     Как измерить выходную мощность усилителя низкой частоты?

     Измерение выходной мощности усилителя с использованием осциллографа.

     Для проведения измерения нужно подключить один из каналов усилителя, либо к колонке, если её расчётная мощность заведомо больше, либо к эквиваленту нагрузки сопротивлением равным сопротивлению колонки.     >>>


Измерение выходной мощности усилителя

фото. В качестве эквивалента нагрузки можно использовать резистор типа ПЭВ

В качестве эквивалента нагрузки можно использовать резистор типа ПЭВ, мощностью 10 – 100 Ватт. (Ограниченное время резисторы марки ПЭВ могут рассеивать мощность в несколько раз больше расчётной).

Пример использования резистора ОПЭВ-50 (8ом, 50 Ватт).

В зависимости от схемы соединения можно получить нагрузку в 2, 4 или 8 Ом.

На вход усилителя нужно подать синусоидальный сигнал частотой 100 – 200 Герц (можно обойтись и обычным музыкальным сигналом) и, постепенно увеличивая громкость, посмотреть по экрану осциллографа, при каком напряжении на выходе усилителя начнётся ограничение выходного сигнала по амплитуде.


Измерение выходной мощности усилителя

фото. Cary Audio Design LLC (США)

При измерении максимальной выходной мощности, нельзя подавать на вход усилителя, подключенного к многополосным АС, сигнал высокой частоты от генератора, так как это может привести к перегрузке высокочастотного или среднечастотного динамика.

На картинке осциллограммы синусоидального «1» и музыкального «2» сигналов. Стрелкой отмечен уровень сигнала, который нужно использовать при расчёте мощности. Осциллограммы. Синусоида и музыка.

Затем можно подставить результат в формулу:

P = (U x U) : (2 x R)

P– выходная мощность усилителя в Ваттах,
U – выходное напряжение усилителя в Вольтах,
R – сопротивление нагрузки (колонки) в Омах.
Пример:

[28 (Вольт) x 28 (Вольт)] : [2 x 4 (Ома)]= 98 Ватт     сюда >>>


Измерение выходной мощности усилителя

Измерение выходной мощности усилителя.

Измерение выходной мощности усилителя с использованием вольтметра.
В отсутствие осциллографа, для измерения выходной мощности усилителя, можно обойтись и любым вольтметром, например, стрелочным тестером или мультиметром.

Для этого достаточно собрать простую схему, которая превратит любой вольтметр, в измеритель пикового напряжения.
Правда, тогда в качестве источника сигнала придётся использовать задающий генератор низкой частоты, так как при музыкальном сигнале на входе, нельзя будет получить достоверные результаты.   фото отсюда >>>


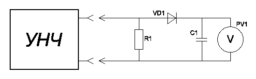
Измерение выходной мощности усилителя

Схема измерения мощности.

Схема измерения мощности.

R1 - 4 или 8 ом (в зависимости от сопротивления колонок);
VD1 - любой диод на напряжение 50 Вольт и выше;

С1 - 0,47 - 1,0 µF любой «сухой» конденсатор на напряжение 50 Вольт и выше;
PV1 - любой вольтметр постоянного тока на напряжение 50 – 100 Вольт.

Синусоидальный сигнал звуковой частоты можно получить при использовании программного генератора низкой частоты.

На картинке показано, как выглядит один из таких генераторов и каково положение органов его управления при измерении мощности.   фото отсюда >>>


novosti-belarus. Minsk
No Comment?   No!   Comment!
Более подробную информацию об этом можно узнать, кликнув по картинке...

Сколько стоит Ламповый усилитель для наушников - доступны два уровня оснащения: «Стандарт» и «Норма» Сколько стоит Ламповый усилитель для наушников - доступны два уровня оснащения: «Стандарт» и «Норма». Ретро Авто. Худлжники в Полоцке. Время Луны. Картинка. Реферат. Обои для компьютера< Сколько стоит Ламповый усилитель для наушников . Сайт. Фото. Самодельный Усилитель Редчайший суперкар.

Экскурсии по Минску
Экскурсии по Беларуси
М. Интерконтиненталь
Мисс Мира. 2010
Мисс Беларусь. 2010
Мисс Беларусь. 2008
Мисс Беларусь. 2006
Мисс Беларусь. 2004
Мисс Беларусь. 2002
Евровидение 2010
Мобильный патруль Фото Беларуси
Мобильный патруль!
Ну что? Захостимся!
Что-то модное бы...
Модные юбки 2
Модные юбки 3
Модные юбки 4
Модные юбки 5
Модные юбки 6
Модные юбки 2011
Сколько стоит Яндекс
Сколько стоит Ламповый усилитель для наушников мтс 029 244 90 62 дом 8-02-244-39-501(до 21-00) Е-мейл MakovichSV@rambler.ru
Почем нынче звезды?
Курсы обмена Валют
Фотостудия "Лувр"
История фирмы Нокия
Продажа картин в Минске
Минский вернисаж
Мисс Интерконинталь
Авторынки Минска
Как добраться?
Рекламные агентства
Адреса ресторанов Минска
Достопримечательности Минска. Интересные места города
Интересные места города
Минск 50-х сегодня. Карта Минска
Минск 50-х сегодня
Discovery-Belarus
Belarus-Nemiga
Belarusian Discovery
National-geographic
Discovery-science
Animal-planet
Belarusian Hhistory
Discovery Civilisation
Гербы городов Беларуси
Беловежская пуща
Пальмы на Минском море? Фото Беларуси
Где это Минское море?
О городах Беларуси
Дворец Паскевичей
Музыкальная столица?
Анастасия жила в Слуцке
Гродно. Корона Батория
Нарочь - озеро или курорт
Орша-город на Днепре
Средневековый Полоцк
Борисов-Борисфен!

Минск. 2003-2014
vic2005@mail.ru
Связь по ICQ 288-702-522 288702522
Все права защищены!

Наш e-mail vic2005@mail.ru    Студия "Лувр" представляет:
Studio Louvre. Minsk